Universal looks to customize rides for guests with disabilities
Universal has filed a patent application for a way to change how theme park attractions show content to guests with disabilities.
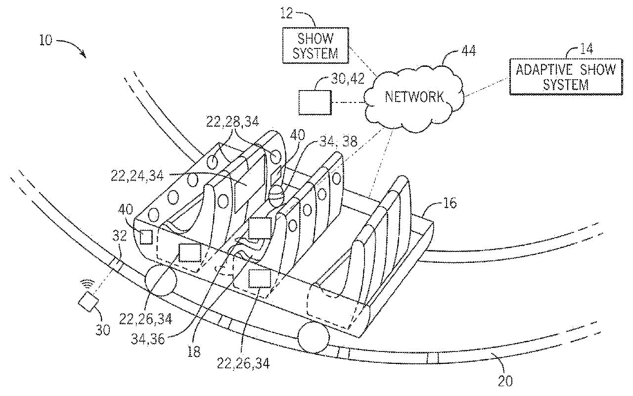
Theme parks long have had the ability to tailor content in a dark ride or other attraction for specific guests. Just think of how E.T. would say your name at the end of Universal's E.T. Adventure ride. With RFID technology and wearable devices such as Disney's MagicBand, today's advanced theme park rides know even more about the individuals sitting in each seat.
Universal's patent application builds upon those developments to help guests with disabilities have a better experience on a ride. In "Systems And Methods For Providing Enhanced Ride System Experience To Guests With Disabilities," Universal proposes a plan where a show system receives a signal from an assistive device worn by a rider that then triggers the system to make specific changes or enhancements to the content that the show system delivers.

Patent application drawing from Universal
"Synchronization of existing ride systems with assistive devices and presentation of individualized ride content based on each guest's needs may be challenging," the patent application said. "Thus, it is now recognized that there is a need for improved systems and methods for facilitating coordination of assistive devices with various components of a ride system and to provide guests with an enhanced ride experience based on the assistive requirements of each guest."
"The assistive show content may include audio data, tactile data, image data, and/or haptic data configured to supplement, enhance, or substitute the standard show content."
You can read the entire application on the USPTO website.
Replies (3)
I applaud the effort too, but this should be able to be applied in all theme parks, not just universal.
@VelocicoasterFan
At this point all of these kinds of patents from Universal are free to use for all.
This article has been archived and is no longer accepting comments.



I applaud this effort, and also ponder the ways in which this technology might be utilized for other attractions going forward.