Check out plans for new ride systems from Disney, Universal
Let's look at this week's theme park patent applications, starting with a new articulated-arm ride system from Disney.
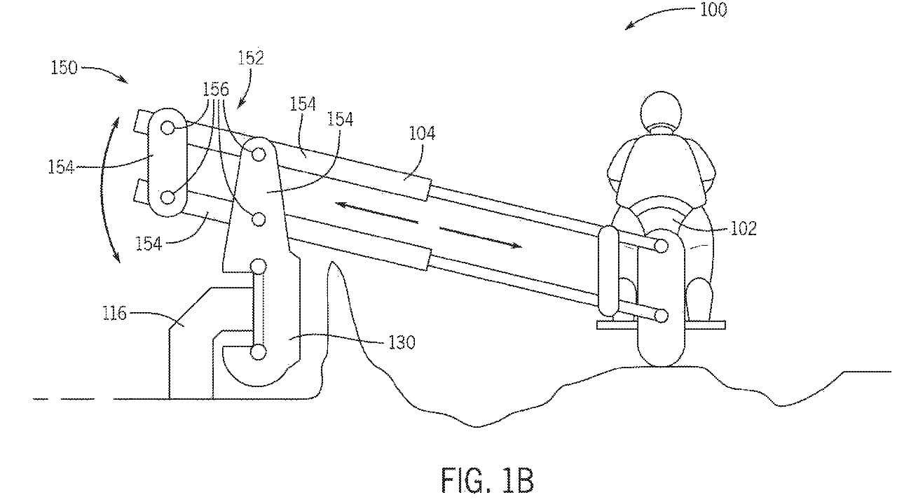
This one feels a bit like a plussed version of Universal's boom coaster, which provides the ride system for its Mine-Cart Madness roller coaster. Disney's application also detail a ride system with an arm attached to the side a ride vehicle, but this one allows the arm to help direct and control the path of the ride vehicle in a more dynamic way. The vehicle can feel to the passenger like it is riding along a rough mountain road, choppy ocean waves, or in turbulent air, all while the vehicle remains safely under control.

Image from Disney's patent application
"Existing solutions often fall short of real life simulation, often because of a lack of technology or because of ride characteristics themselves. For example, for rides with movable vehicles, existing solutions may not simulate the physical dynamics of real world vehicles. In addition, existing solutions may not provide guest control, thereby limiting the guest experience. Therefore a need exists for ride systems having an articulating or moving arm, that addresses the concerns above or at least offers an alternative to existing solutions."
My first thought when looking at the application was, "Is this the ride system for the Piston Peak attraction at Magic Kingdom?" Disney is building that Cars-themed ride to replace Tom Sawyer Island and the Rivers of America, with an opening date yet to be announced. But Disney has promised an off-road-type experience that this proposed ride system seems tailored to provide.
You can read the patent application here: Ride System Having an Articulated Arm.
Disney also has filed a patent application for the modular omnidirectional actuated floors that Lanny Smoot demonstrated to invited reporters and Disney showed off on social media in 2024. [See Disney celebrates innovation with Hall of Fame announcement.]
Over at Universal, the company has filed a patent application for its own version of "trackless" ride vehicles. This application, Ride Vehicle Positioning System, details how ride vehicles can use signals returned from the ground they drive on for direction, rather than traditional rail- or flume-based systems.
"The ride vehicle may include a ground-penetrating radar to emit electromagnetic radiation into the ride path to detect underground structures embedded therein, which may cause a receiver of the ride vehicle to receive variations in returned electromagnetic radiation signals," the application states. "Based on the returned electromagnetic radiation signals, the vehicle positioning system may determine vehicle position based on signals characteristic of particular path features."
For weekly updates on more theme park news, please sign up for Theme Park Insider's weekly newsletter.
Replies (6)
I agree with the above poster. I don't think it's for the new Cars attraction at MK since the timing is off. It could be but I don't know. My best guess is this could be for that Villains Land E-ticket coming in 2030 (give or take). The timing for that and this patent seems to make more sense.
This definitely seems plausible for the Piston Peak attraction, but it seems crazy that they would just be getting around to submitting a patent for something that has already begun construction. If this was really a key component for the Piston Peak E-Ticket, then you would expect the patent to have been submitted a solid 2-3 years ago, or at least before they started draining RoA. Given the amount of clearing that has already taken place, you would think that WDI already has full plans for the land, including schematics for the main attraction. I guess it's possible that WDI was still tinkering with the ride system design specifications, and has just gotten around to a final working protype to submit to the USPTO, but already have a finalized layout for the attraction.
I'm more inclined to think that this might be for a B/C ticket level attraction in the land or a modification to existing flat ride technology - think Zamperla "Jump Around", that would allow vehicles to follow a terrain path while spinning around a central axis or along an oval or other shaped track (like a "Whip").
If they're just filing a patent now, I doubt this is for Piston Peak or anything that has been announced to date by Disney. Instead, I suspect it's for an unannounced attraction that's currently in the blue sky stages and may not ever see the light of day, but it certainly has quite a few potential applications depending on which direction Disney goes with future projects.
The Universal patent to me is a bit more interesting as we haven't yet seen anything in the trackless vein from them. Could it potentially imply their first trackless dark ride will debut with that technology at the UK park? The timing would be just about right for that.
I was under the impression that they'd already said Piston Peak would be in essence a trackless version of Radiator Spings? I've seen a promo of an outdoor all-terrain trackless self-driving vehicle system which I thought had bene confirmed for this attraction? So I agree the timescale is way out for this to be anything to do with Piston Peak.
Cough *Speeder Bikes* Cough, cough
This article has been archived and is no longer accepting comments.



@Robert: I immediately thought the same thing concerning the new Cars attraction at MK. Which had me wondering, is it common industry practice to design and build attractions utilizing new technology BEFORE applying for a patent? Surely the Cars Rally Racers has long since passed the conceptual stages, and it would be senseless to apply for a patent for a design that was proven to be unworkable, so I will have to assume that if this patent were indeed for that attraction, then that would require a lot of expense in terms of testing and buildin it before securing a patent. I guess I’m trying to just sort out the actual timing of these things as they are related to the cross-section between a proof of concept idea, and the actual patent application if that makes sense.