Universal's new technology will let the magic flow through you
You've done finger scans and facial recognition at theme parks. How about now getting a vascular scan?
That's right. Universal has filed a patent application for a new system that would scan and map the veins in your body. Why would Universal need to do that? Well, how else would Universal be able to show you the magic - or the bugs - flowing through your blood?
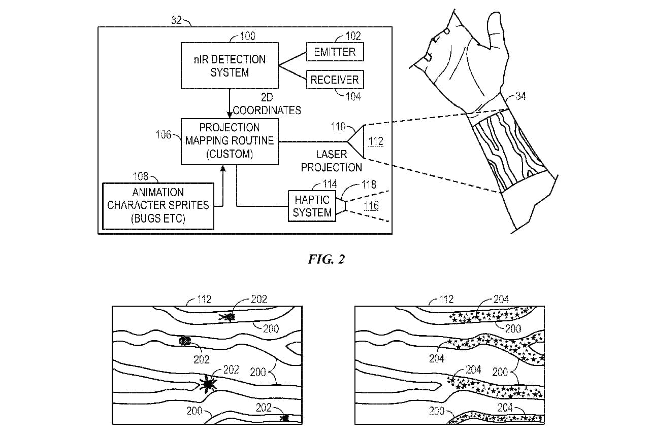
It's all detailed in Systems and Methods for Vascular Effects, published today. The system would use infrared light to map a body part and then use projection mapping to project "sprites" - such as bugs or fluid or magic sparkles - as flowing through your body.

Diagram from Universal's patent application
"The vascular effects system may simulate bugs crawling on the guest's veins, tattoos on the guest's skin, magic, superpowers, or other supernatural forces/sub-stances flowing through the guest's veins, various colors of blood or other fluids flowing through the guest's veins, poison flowing through the guest's veins, veins getting bigger (e.g., swelling, growing, sprouting smaller veins) or smaller, veins moving around, and so forth," the application said. "In some embodiments, the vascular effects system may also use haptics (e.g., small puffs of air onto the guest's skin) to enhance the vascular effects."
"In some embodiments, the vascular effects system may be instantiated as a handheld device held by the guest or a staff member. In some embodiments, the vascular effects system may be fixed to a wall, an exhibit, or some other structure and the guest may place his or her body part under the vascular effects system."
Patent applications are all about describing the technology and not necessarily telling how it would be specifically applied. So it's up to fans to imagine how this system might work in the parks and which for which IP Universal might use it.
Replies (2)
This has been at hot year for patent back and forths
This article has been archived and is no longer accepting comments.


There is a machine at my local science museum, that has been doing this for decades.