Theme Park News from October 2022

Other posts from 2022:
Jan Feb Mar Apr May Jun Jul Aug Sep Oct Nov Dec

Walt Disney World's Epcot Celebrates Its 40th Birthday · 28 comments

Universal Orlando Adds Two More Halloween Horror Nights · 1 comment

Shaq Goes for the Slam Dunk With New Halloween Event · 3 comments

5 Things That Are Evil When Flying and 5 That Aren't · 14 comments

Guided Tours Are Returning to Disneyland

Orlando Park to Remove Deadly Drop Ride · 15 comments

Universal Hollywood Sets Post-Thanksgiving Return for Holiday Events

Disneyland Announces Runaway Railway, New Show Openings · 49 comments

Why Your iPhone Might Call 911 When You Ride a Roller Coaster · 6 comments

Holiday World to Use Drone Show to Make 2023 Announcement · 1 comment

Disneyland Raises Ticket Prices, But There's Still a Way to Save · 17 comments

Record-Setting Swing Ride Coming to Busch Gardens Tampa · 4 comments

Disneyland Reveals Start Date for MagicBand+ · 5 comments

One of Disney World's Top Restaurants Reopens Next Week · 1 comment

Universal's Chocolate Emporium Opening Next Year in Hollywood

Disney Parks' Secret Society Tipped for Big Screen Debut · 3 comments

Harry Potter Fans Mourn Loss of Actor Robbie Coltrane · 3 comments

Universal Makes Big Gains in 2021 Theme Park Attendance Report · 63 comments

Did a Bad Choice Doom the SeaWorld/Busch Gardens Parks? · 23 comments

Carowinds, Kings Dominion Go to Year-Round Operation · 4 comments

Surfing on a Roller Coaster? It’s Happening in Orlando Next Year · 11 comments

Universal Orlando Sets Dates for 2023 Mardi Gras Celebration · 1 comment

A New 'Adventure Port' Is Coming to Kings Island · 1 comment

Fantasmic! Returns November 3 at Walt Disney World · 5 comments

Last Chance for Disneyland Tickets at the Old Prices

How to Use MagicBand+ at the Disneyland Resort · 7 comments

Disneyland Pluses for 'Black Panther: Wakanda Forever' Release

Bob Weis to Retire from Walt Disney Imagineering · 2 comments

How to Play Disney's New 'Batuu Bounty Hunters' Game · 9 comments

Has Universal Solved the 'Cell Phones on Rides' Problem? · 16 comments

Theme Park Uses Drones to Announce... a Bigger Drone Show

Confirmed: No 'Play' Pavilion at Walt Disney World · 22 comments

Blizzard Beach Set for Walt Disney World Return · 9 comments

Six Flags Park Drops 'Open Every Day' Policy · 19 comments

Is Orlando's Discovery Cove the Future of Theme Parks? · 14 comments

Train Derailment Injures Riders at Silver Dollar City

Universal Studios Beijing Closes Again · 1 comment

Universal Reports Record Theme Park Earnings · 5 comments

Tokyo DisneySea Shares Names, New Opening Date for Expansion · 6 comments

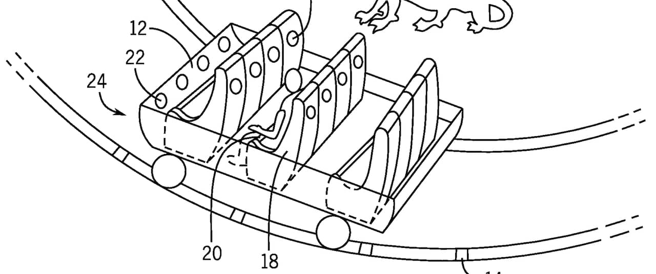
Universal Files Patent for Vertical Dark Ride System · 4 comments

Disney's Imagineers Share Epcot Updates · 13 comments

What Makes You Want to Ride Again? · 14 comments

What Was the Best Halloween Moment in 2022? · 10 comments

Shanghai Disneyland Closes Again · 1 comment

New Haunted House to Feature 'Revolutionary' Ride System · 4 comments

Trip Report: Cedar Point's HalloWeekends 2022 · 10 comments

Links to other posts from 2022:
Jan Feb Mar Apr May Jun Jul Aug Sep Oct Nov Dec